Каталог продукции, ГПИ-трубы (pdf, 14.6mb)
В каталоге представлена следующая продукция:
Также мы производим и продаем ПИ-трубы
Гибкая полимерная труба «ИЗОПРОФЛЕКС – А» предназначена для подземной бесканальной прокладки, а также прокладки в непроходных каналах.
ГПИ-труба Изопрофлекс-А 1 МПА используется:
Труба ИЗОПРОФЛЕКС-A 1 МПА представляет собой многослойную конструкцию, состоящую из напорной трубы, теплоизолирующего слоя и защитной оболочки.
Труба изготавливаются в течение непрерывного технологического процесса, благодаря чему каждый из слоев имеет прочное физическое сцепление с соседними слоями.

Напорная труба ИЗОПРОФЛЕКС-A 1 МПА изготавливается из сшитого полиэтилена «ДЖИ-ПЕКС-А» и «ДЖИ-ПЕКС-АМТ» , изготовленные по ТУ 2248-003-48532278-2012.Трубы «ДЖИ-ПЕКС-А» (армированные) представляют собой конструкцию из сшитого полиэтилена, армированную поперечными и продольными синтетическими нитями с защитным клеевым слоем.Трубы «ДЖИ-ПЕКС-АМТ» представляют собой армированную поперечными и продольными синтетическими нитями конструкцию из внутреннего слоя из сшитого полиэтилена, с защитным клеевым слоем и наружного слоя из полиэтилена высокой плотности.
Высокотемпературный адгезив предназначен для прочного соединения армирующих нитей из высокомодульного волокна c трубой из сшитого полиэтилена. Он обеспечивает высокие механопрочностные характеристики клеевых соединений с высокой прочностью на сдвиг 110-700 МПа и температурой эксплуатации от -196 до +1600°С.
Армирующие нити из высокомодульного волокна (Kevlar) обладают высокой прочностью, превосходя по этим чертам некоторые металлы (в пять раз прочнее стали, предел прочности σ0= 3620 МПа), имеет высокую стойкость к различного рода воздействиям. Обладает такими свойствами, как негорючесть и термостойкость. Армирование позволяет в значительной степени улучшить эксплуатационные характеристики, требующие высоких показателей и конечный материал получается прочными и лёгкими.
Наружный слой напорной трубы предназначен для защиты армирующего слоя из нитей высокомодульного волокна от внешних воздействий при хранении, транспортировке, монтажа и эксплуатации трубопровода. Поверх наружного слоя нанесен кислородно-защитный слой, который препятствует диффузии кислорода внутрь трубы .
Теплоизолирующий слой предназначен для тепловой изоляции напорной трубы и обеспечивает сохранение требуемой температуры теплоносителя во время его транспортировки по трубопроводу. Изолирующий слой изготавливается из полужесткого озонобезопасного вспененного полиуретана (ППУ) в результате непрерывного технологического процесса, что обеспечивает равномерность свойств тепловой изоляции на протяжении всего отрезка трубы.
Для изготовления тепловой изоляции из ППУ применяют компоненты А (полиол) и Б (изоцианат), поставляемые по договору, которые при смешивании в процессе производства образуют полужесткий пенополиуретан.
Барьерный слой позволяет сохранить высокую энергоэффективность предварительно изолированного трубопровода. Благодаря данному слою первоначальная структура слоя теплоизоляции остается неизменной в течение более продолжительного времени. Это дает возможность избежать разрушения структуры трубопровода, а также улучшить его рабочие характеристики и продлить срок его службы.
Наличие барьерного слоя способствует:
Барьерный слой предотвращает увеличение теплопроводности вспененного полиуретана. Таким образом, эффективность теплоизоляции остается неизменной с течением времени. Проникновение кислорода, являющегося причиной деструкции материала теплоизоляции из вспененного полиуретана, резко снижается.
Защитная оболочка предназначена для физической защиты теплоизолирующего слоя от внешних воздействий. Защитная оболочка представляет собой бесшовную гофрированную внешнюю трубу, имеющую жесткое сцепление с предыдущим теплоизолирующим слоем. На внешней поверхности защитной оболочки нанесены продольные идентифицирующие полосы определенного цвета, соответствующие типу ГПИ-трубы.
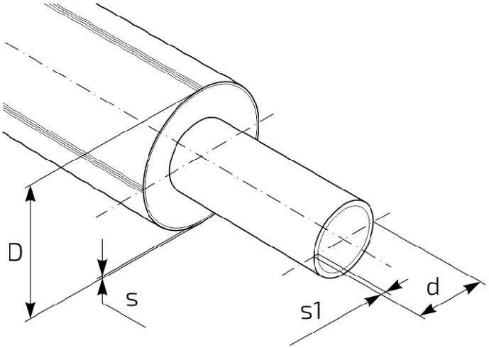
Для изготовления оболочки применяют композицию полиэтилена марок 102-14, 153-14 или базовые марки полиэтилена 10204-003,15303-03 по ГОСТ 16337 с добавлением концентрата красителя и термостабилизатора или другие марки полиэтилена низкой и средней плотности, в том числе импортные, соответствующие вышеуказанным. Плотность полиэтилена для изготовления оболочки должна быть не менее 920 кг/м3, содержание сажи (2,5 +/- 0,5%) от массы. Показатели свойств материалов ГПИ-труб приведены в таблице.
| Наименование показателя | Значение | Метод испытания |
|---|---|---|
| Средний коэффициент линейного теплового расширения 0-70°C полиэтилена PE-Xa, K2 | 1,5*104 | ГОСТ 15173 |
| Теплопроводность напорной полиэтиленовой трубы PE-Xa, Вт/м-К | 0,38 | ГОСТ 23630.2 |
| Теплопроводной полиетиленовой оболочки, Вт/м-К | 0,43 | ГОСТ 23630.2 |
| Теплопроводность тепловой изоляции при средней температуре 50°C, Вт/м-К | <0,033 | СТБ 1618 |

| Тип ГПИ-трубы | Тип напорной трубы | Напорная труба ДЖИ-ПЕКС d*s1, мм | Оболочка D*s, мм | Масса 1 м, кг | Миним. радиус изгиба, м | Макс. длина в бухте, м |
|---|---|---|---|---|---|---|
| 40/75 | 40 | 40х2,8 | 79,0х2,0 | 1,08 | 0,7 | 265 |
| 50/90 | 50 | 47,6х3,6 | 94,0х2,2 | 1,56 | 0,8 | 225 |
| 63/100 | 63 | 58,5х4,0 | 103,0х2,2 | 1,8 | 0,9 | 205 |
| 75/110 | 75 | 69,5х4,6 | 115,0х2,4 | 2,27 | 0,9 | 180 |
| 90/125 | 90 | 84,0х6,0 | 130,0х2,6 | 3,07 | 1,0 | 160 |
| 110/145 | 110 | 101,0х6,5 | 150,0х2,7 | 3,87 | 1,1 | 135 |
| 125/160 | 125 | 116,0х6,8 | 165,0х2,9 | 4,57 | 1,2 | 90 |
| 140/180 | 140 | 127,0х7,1 | 185,0х3,0 | 5,40 | 1,3 | 80 |
| 160/200* | 160 | 144,0х7,5 | 201,3х3,1 | 6,28 | 1,4 | 120 (на барабане) |
*размеры и расчетная масса для справок
*труба Изопрофлекс-А 160/200 поставляется только спецтранспортом на барабанах
Возможно изготовление ГПИ-труб с усиленной тепловой изоляцией для применения в климатических районах с отрицательной среднегодовой температурой наружного воздуха.
ГПИ-труба ИЗОПРОФЛЕКС-А типа 40/75 на максимальное рабочее давление 1,0 МПа:
Труба Изопрофлекс-А 40/75 Р1,0 МПа ТУ BY 190638721.002-2012 100 м
Согласно экспертному заключению кафедры ТНС и ППМ БГТУ от 30 декабря 2013 года, составленному по результатам экспресс-оценки долговечности элементов трубы, осуществленной в соответствии с СТБ 13332-2002 и СТБ 1333.3-2004, срок службы ГПИ-труб ИЗОПРОФЛЕКС составляет не менее 50 лет.
ООО «БелЕвроТрубПласт» гарантирует соответствие ГПИ-труб требованиям технических условий при соблюдении условий транспортирования и хранения.
Гарантийный срок хранения ГПИ- труб — 3 года со дня их изготовления.
Гарантийный срок эксплуатации ГПИ-труб — 5 лет со дня ввода их в эксплуатацию, при условии соблюдения правил монтажа и эксплуатации.
Мы производим и продаем ГПИ-трубы и ПИ-трубы для тепловых сетей коммунального и энергетического комплексов.
Мы работаем с понедельника по пятницу с 8:00 до 20:00.
Вы также можете заказать обратный звонок, мы сами вам перезвоним.
Закажите обратный звонок и мы обязательно перезвоним Вам в кратчайшие сроки.