Каталог продукции, ГПИ-трубы (pdf, 14.6mb)
В каталоге представлена следующая продукция:
Также мы производим и продаем ПИ-трубы
Гибкая полимерная труба Изопрофлекс Тандем предназначена для подземной бесканальной прокладки, а также прокладки в непроходных каналах.
ГПИ-труба Изопрофлекс Тандем используется:
Труба ИЗОПРОФЛЕКС 0,6МПа представляет собой многослойную конструкцию, состоящую из напорной трубы, теплоизолирующего слоя и защитной оболочки.
Труба изготавливаются в течение непрерывного технологического процесса, благодаря чему каждый из слоев имеет прочное физическое сцепление с соседними слоями.

Напорная труба ИЗОПРОФЛЕКС 0,6МПа изготавливается из сшитого полиэтилена РЕ–Ха, поверх которого наносится кислородно–защитный слой. В качестве напорной трубы для ГПИ-труб «Изопрофлекс» применяются: трубы напорные из сшитого полиэтилена «ДЖИ-ПЕКС», изготовленные по ТУ 2248-002-48532278-2012. Трубы ДЖИ-ПЕКС представляют собой конструкцию из сшитого полиэтилена.
Кислородно-защитный слой препятствует диффузии кислорода внутрь трубы и в дальнейшем через теплоноситель в систему отопления.
Теплоизолирующий слой предназначен для тепловой изоляции напорной трубы и обеспечивает сохранение требуемой температуры теплоносителя во время его транспортировки по трубопроводу. Изолирующий слой изготавливается из полужесткого озонобезопасного вспененного полиуретана (ППУ) в результате непрерывного технологического процесса, что обеспечивает равномерность свойств тепловой изоляции на протяжении всего отрезка трубы.
Для изготовления тепловой изоляции из ППУ применяют компоненты А (полиол) и Б (изоцианат), поставляемые по договору, которые при смешивании в процессе производства образуют полужесткий пенополиуретан.
Барьерный слой позволяет сохранить высокую энергоэффективность предварительно изолированного трубопровода. Благодаря данному слою первоначальная структура слоя теплоизоляции остается неизменной в течение более продолжительного времени. Это дает возможность избежать разрушения структуры трубопровода, а также улучшить его рабочие характеристики и продлить срок его службы.
Наличие барьерного слоя способствует:
Барьерный слой предотвращает увеличение теплопроводности вспененного полиуретана. Таким образом, эффективность теплоизоляции остается неизменной с течением времени. Проникновение кислорода, являющегося причиной деструкции материала теплоизоляции из вспененного полиуретана, резко снижается.
Защитная оболочка предназначена для физической защиты теплоизолирующего слоя от внешних воздействий. Защитная оболочка представляет собой бесшовную гофрированную внешнюю трубу, имеющую жесткое сцепление с предыдущим теплоизолирующим слоем. На внешней поверхности защитной оболочки нанесены продольные идентифицирующие полосы определенного цвета, соответствующие типу ГПИ-трубы.
Для изготовления оболочки применяют композицию полиэтилена марок 102-14, 153-14 или базовые марки полиэтилена 10204-003,15303-03 по ГОСТ 16337 с добавлением концентрата красителя и термостабилизатора или другие марки полиэтилена низкой и средней плотности, в том числе импортные, соответствующие вышеуказанным. Плотность полиэтилена для изготовления оболочки должна быть не менее 920 кг/м3, содержание сажи (2,5 +/- 0,5%) от массы. Показатели свойств материалов ГПИ-труб приведены в таблице.
| Наименование показателя | Значение | Метод испытания |
|---|---|---|
| Средний коэффициент линейного теплового расширения 0-70°C полиэтилена PE-Xa, K2 | 1,5*104 | ГОСТ 15173 |
| Теплопроводность напорной полиэтиленовой трубы PE-Xa, Вт/м-К | 0,38 | ГОСТ 23630.2 |
| Теплопроводной полиетиленовой оболочки, Вт/м-К | 0,43 | ГОСТ 23630.2 |
| Теплопроводность тепловой изоляции при средней температуре 50°C, Вт/м-К | <0,033 | СТБ 1618 |

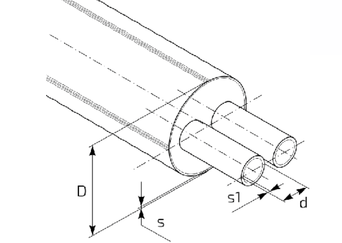
| Тип ГПИ-трубы | Тип напорной трубы | Напорная труба ДЖИ-ПЕКС d*s1, мм | Оболочка D*s, мм | Масса 1 м, кг | Миним. радиус изгиба, м | Макс. длина в бухте, м |
|---|---|---|---|---|---|---|
| Изопрофлекс Тандем 25+25/90 | 25х2,3 | 94 х 2,2 | 1,38 | 0,8 | 0,6 | 225 |
| Изопрофлекс Тандем 32+25/110 | 32х2,9 + 25х2,3 | 115 х 2,4 | 1,88 | 0,9 | 0,6 | 180 |
| Изопрофлекс Тандем 32+32/110 | 32х2,9 + 25х2,3 | 115 х 2,4 | 1,95 | 0,9 | 0,6 | 180 |
| Изопрофлекс Тандем 40+25/110 | 40х2,8 + 25х2,3 | 115 х 2,4 | 2,05 | 1,0 | 0,6 | 160 |
| Изопрофлекс Тандем 40+32/125 | 40х2,8 + 32х2,9 | 130 х 2,6 | 1,42 | 1,0 | 0,6 | 160 |
| Изопрофлекс-А Тандем 40+40/125 | 40х2,8 | 130 х 2,6 | 2,61 | 1,0 | 1,0 | 160 |
| Изопрофлекс Тандем 50+32/125 | 47,6х3,6 + 32х2,9 | 130 х 2,6 | 2,54 | 1,3 | 0,6 | 160 |
| Изопрофлекс-А Тандем 50+40/145 | 47,6х3,6 + 40х2,8 | 150 х 2,7 | 3,32 | 1,3 | 1,0 | 135 |
| Изопрофлекс-А Тандем 50+50/160 | 47,6х3,6 | 165 х 2,9 | 3,94 | 1,3 | 1,0 | 90 |
| Изопрофлекс-А Тандем 63+40/160 | 58,5х4,0 + 40х2,8 | 165 х 2,9 | 3,69 | 1,3 | 1,0 | 90 |
| Изопрофлекс-А Тандем 63+50/180 | 58,5х4,0 + 47,6х3,6 | 185 х 3,0 | 4,9 | 1,3 | 1,0 | 80 |
| Изопрофлекс-А Тандем 63+63/180 | 58,5х4,0 | 185 х 3,0 | 5,24 | 1,3 | 1,0 | 80 |
*размеры и расчетная масса для справок
ГПИ-труба ИЗОПРОФЛЕКС ТАНДЕМ типа 25+25/90Р на максимальное рабочее давление 0,6 МПа:
Труба Изопрофлекс-А Тандем40+40/125 1,0 МПа ТУ BY 190638721.005-2014100 м
ГПИ-труба ИЗОПРОФЛЕКС-А ТАНДЕМ типа 40+40/125 на максимальное рабочее давление 1,0 МПа:
Труба Изопрофлекс-А Тандем40+40/125 1,0 МПа ТУ BY 190638721.005-2014100 м
Согласно экспертному заключению кафедры ТНС и ППМ БГТУ от 30 декабря 2013 года, составленному по результатам экспресс-оценки долговечности элементов трубы, осуществленной в соответствии с СТБ 13332-2002 и СТБ 1333.3-2004, срок службы ГПИ-труб ИЗОПРОФЛЕКС составляет не менее 50 лет.
ООО «БелЕвроТрубПласт» гарантирует соответствие ГПИ-труб требованиям технических условий при соблюдении условий транспортирования и хранения.
Гарантийный срок хранения ГПИ- труб — 3 года со дня их изготовления.
Гарантийный срок эксплуатации ГПИ-труб — 5 лет со дня ввода их в эксплуатацию, при условии соблюдения правил монтажа и эксплуатации.
Мы производим и продаем ГПИ-трубы и ПИ-трубы для тепловых сетей коммунального и энергетического комплексов.
Мы работаем с понедельника по пятницу с 8:00 до 20:00.
Вы также можете заказать обратный звонок, мы сами вам перезвоним.
Закажите обратный звонок и мы обязательно перезвоним Вам в кратчайшие сроки.